油脂灌裝裝置
更新時間:2022-07-09
點擊數:
- 授權公告號:CN204938951U
- 申請日:2015.09.23
- 授權公告日:2016.01.06
- 申請公布日:
- 申請號:2015207472408
- 專利類型:實用新型
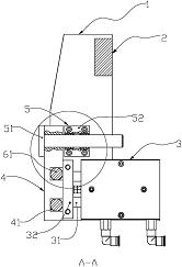
本實用新型的主要目的是提供一種灌裝閥可動式油脂灌裝裝置,包括橫桿組;灌裝閥,灌裝閥安裝于橫桿組上;第一側板以及第二側板,分別位于油脂灌裝裝置的兩側;橫板,橫板的兩端分別與第一側板、第二側板固定連接,該裝置還包括氣缸,氣缸等水平高度地分別安裝于第一側板、第二側板上,活塞桿運動方向與水平方向一致;第一夾持件,第一夾持件與活塞桿末端的推塊連接組成夾持機構;第一夾持件的下部設置兩個方形的槽孔;橫桿組的兩端分別內伸進第一夾持件上的槽孔內。在灌裝不同類的容器時,只需調節氣缸的活塞桿伸出長度,則可實現快捷的瓶口對準,大大提升生產效率,及減少人手投入,增強經濟效益。

